Магазин запчастей для бытовой техники - Arlos
Москва
close
Выберите ваш регион
АбаканАлександровАльметьевскАнгарскАрзамасАрмавирАртемАрхангельскАстраханьАчинскБалаковоБалашихаБеларусьБелгородБердскБерезникиБийскБлаговещенскБратскБрянскВеликий НовгородВидноеВладивостокВладикавказВладимирВолгоградВолгодонскВолжскийВологдаВолховВоркутаВоронежВоскресенскВыборгГатчинаГеленджикГрозныйДедовскДербентДзержинскДзержинскийДимитровградДмитровДолгопрудныйДомодедовоДонецкЕвпаторияЕгорьевскЕкатеринбургЕлецЕссентукиЖелезногорскЖелезнодорожныйЖуковскийЗеленоградЗлатоустИвановоИвантеевкаИжевскИркутскИстраЙошкар-ОлаКазаньКалининградКалугаКаменск-УральскийКамышинКаспийскКемеровоКерчьКировКисловодскКлинКовровКоломнаКомсомольск-на-АмуреКопейскКоролёвКостромаКотельникиКрасногорскКраснодарКраснознаменскКрасноярскКурганКурскКызылЛенинск-КузнецкийЛипецкЛобняЛыткариноЛюберцыМагнитогорскМайкопМалаховкаМахачкалаМиассМоскваМурманскМуромМытищиНабережные ЧелныНазраньНальчикНаро-ФоминскНахабиноНаходкаНевинномысскНефтекамскНефтеюганскНижневартовскНижнекамскНижний НовгородНижний ТагилНовокузнецкНовокуйбышевскНовомосковскНовороссийскНовосибирскНовоуральскНовочебоксарскНовочеркасскНовошахтинскНовый УренгойНогинскНорильскНоябрьскОбнинскОдинцовоОктябрьскийОмскОрелОренбургОрехово-ЗуевоОрскПавловский ПосадПензаПервоуральскПермьПетрозаводскПетропавловск-КамчатскийПодольскПрокопьевскПсковПушкиноПятигорскРаменскоеРеутовРостов-на-ДонуРубцовскРыбинскРязаньСакиСалаватСамараСанкт-ПетербургСаранскСаратовСевастопольСеверодвинскСеверскСергиев ПосадСерпуховСимферопольСмоленскСосновый БорСочиСтавропольСтарый ОсколСтерлитамакСтупиноСургутСызраньСыктывкарТаганрогТамбовТверьТихвинТольяттиТомилиноТомскТроицкТулаТюменьУлан-УдэУльяновскУссурийскУсть-ИлимскУфаУхтаФеодосияФрязиноХабаровскХанты-МансийскХасавюртХимкиЧебоксарыЧелябинскЧереповецЧеркесскЧеховЧитаШахтыЩелковоЭлектростальЭлистаЭнгельсЮжно-СахалинскЯкутскЯлтаЯрославль
  • - бесплатно по РФ
    Автоперезвон. Работает по принципу: Вы позвонили на номер, мы сбрасываем звонок и перезваниваем через 3 секунды.
  • - по Москве
  • 8 (925) 663-83-63

Call-центр

пн-вс: 10:00-19:00

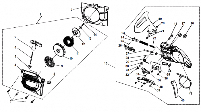
4 СТАРТЕР - ТОРМОЗ ЦЕПИ БЕНЗОПИЛА CHAMPION 245

NАртикулНазваниеСрок отгрузкиЦенаКупить
1 3002000313 Стартер в сборе 5-7 рабочих дней 1.019 р.
2 3001014106 Кожух крыльчатки маховика 5-7 рабочих дней 126 р.
3 5010040514 Винт крепления стартера 5-7 рабочих дней
4 3001013317 Крышка стартера 5-7 рабочих дней 344 р.
5 4504001101 Направляющая шнура стартера 5-7 рабочих дней 30 р.
6 5310038-76 (1) Шнур стартера 5-7 рабочих дней
7 1700003 Ручка стартера 5-7 рабочих дней 60 р.
8 4018002115 Направляющая винтов 5-7 рабочих дней
9 4012001201 Пружина стартера возвратная 5-7 рабочих дней 192 р.
10 4012015105 Барабан стартера 5-7 рабочих дней 126 р.
11 4012002103 Пружина храповика стартера 5-7 рабочих дней 132 р.
12 4012010102 Храповик стартера 5-7 рабочих дней 93 р.
13 5050010516 Шайба храповика стартера 5-7 рабочих дней 18 р.
14 5010130514 Винт крепления храповика 5-7 рабочих дней 30 р.
15 3002000205 Крышка шины в сборе 5-7 рабочих дней 1.789 р.
16 1400007 Гайка крышки шины М8 5-7 рабочих дней 37 р.
17 3001011307 Крышка шины 5-7 рабочих дней 476 р.
18 4011005101 Болт крепления ручки тормоза 5-7 рабочих дней
19 3001036103 Ручка тормоза 5-7 рабочих дней 344 р.
20 5070030300 Шайба стопорная 5-7 рабочих дней
21 4011005103 Штифт ручки тормоза 5-7 рабочих дней
22 4011002101 Пружина ленты тормоза внутренняя 5-7 рабочих дней 20 р.
23 4011004108 Тяга ленты тормоза 5-7 рабочих дней 22 р.
24 4011001102 Пружина ленты тормоза основная 5-7 рабочих дней 46 р.
25 4011014105 Штифт тяги 5-7 рабочих дней
26 4011004201 Рычаг ленты тормоза 5-7 рабочих дней 51 р.
27 4015002102 Болт натяжения цепи 5-7 рабочих дней 60 р.
28 4015004102 Палец натяжения цепи 5-7 рабочих дней 43 р.
29 4011006101 Пружина ручки тормоза 5-7 рабочих дней 35 р.
30 5050010618 Шайба пружины 5-7 рабочих дней
31 5070030400 Шайба стопорная 5-7 рабочих дней
32 4011008101 Шайба 5-7 рабочих дней
33 5070030301 Шайба стопорная 5-7 рабочих дней
34 4015001102 Шестерня натяжения цепи 5-7 рабочих дней 103 р.
35 040606002 Боковой лист на крышку шины 5-7 рабочих дней 34 р.
36 5010024206 Винт крепления бокового листа 5-7 рабочих дней
37 4011009101 Стопорная пластина ручки тормоза 5-7 рабочих дней 44 р.
38 3001015102 Крышка тормозного механизма 5-7 рабочих дней 60 р.
39 5010024209 Винт крепления крышки 5-7 рабочих дней
40 4014014101 Накладка крышки шины 5-7 рабочих дней 66 р.
41 YD520016-23111 Лента тормоза 5-7 рабочих дней 154 р.
Найдено товаров: 41
1
▲ Наверх
0
8 (925) 663-83-63

Call-центр

пн-вс: 10:00-19:00

НАЙТИ ПО МОДЕЛИ
Введите номер заказа
Введите номер своего заказа, что бы узнать его текущий статус.
Что бы получить доступ к расширенным функциям, пройдите не сложную регистрацию. Зарегистрироваться